聯系方式
021-6992-5088
19121986111@163.com
177-6510-7111
上海市松江區
冶金起重電機接線原理 冶金起重機電機接線方法
文/ 發布于2021-01-12 瀏覽次數:4470
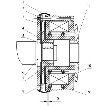
冶金起重電機是適用于驅動各種起重機械的設備,冶金起重電機有較高的過載能力、機械強度,冶金起重電機接線原理和冶金起重機電機接線方法,許多人剛開始使用冶金起重機都不熟悉,下面小編就來為大家講解冶金起重電機接線原理、冶金起重機電機接線方法。
冶金起重電機接線原理
冶金起重電機接無電流通過時處于制定狀態,制定力矩產生可以在干式狀態下工作,接通直流電制動器松開,制動時轉子通過銜鐵盤倍彈簧壓向反摩擦面,產生制動力矩,銜鐵盤和定子產生氣隙,制動力矩的大小可以通過調節螺母進行調節。
冶金起重電機接線都是轉子串聯電阻,改變轉差可以達到調速,通過轉子接直流電達到變速做功,電機保持轉子負載轉矩,轉子的轉差率正大,轉速下降。
冶金起重機電機接線方法
1、冶金起重機電機都具有三相繞組,都是按照三相制動異步電機的繞組進行接線,將首端和末端線頭引出,相應的六根線引出,將六根線頭尾分清,引入接線盒的接線柱接入。
2、星形接法
將三相繞組首尾互相連接,X、Y、Z連接在一起,成為一公共點O,從始端A、B、C引出三條端線,三相相位互差120度的三相正弦交流電源供電,三相之間的電壓互差380V。
3、三角形接線法
三角形接法是將各相電源或負載依次首尾相連,將每個相連的點引出,作為三相電的三個相線,沒有中性點,也不可引出中性線,因此只有三相三線制,添加地線后,成為三相四線制。
冶金起重電機接線原理,冶金起重機電機接線方法,大家看完講解后對冶金起重機的接線原理和接線方法會有一定的了解,冶金起重機接線原理主要是轉子串聯電阻的改變,冶金起重電機一般都是使用星形接線法和三角形接線法。


